minghungmachinery@gmail.com  +8618769900191 / +86 15589105786

CATEGORIA DE PRODUCTO

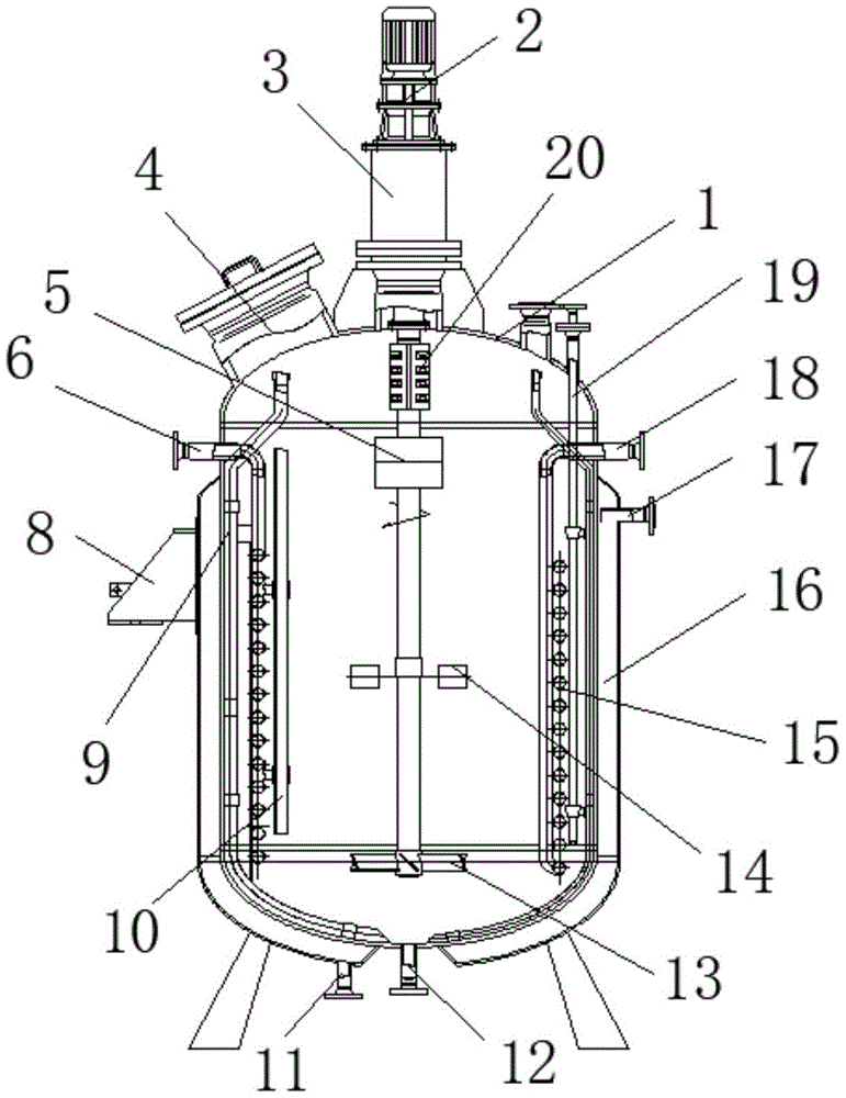
Proceso de producción de pegamento

La fórmula para hacer pegamento ordinario es
Reactor de cinco toneladas Se pueden producir 6,2-6,3 toneladas de pegamento
Formaldehído 3500 kg, urea 25 kg, alcohol polivinílico 6,3 kg, amoníaco acuoso 230 kg, temperatura a 88 grados centígrados, mantener caliente durante 30 minutos, ajustar el valor de pH del pegamento a 4,8 y detenerse cuando el pegamento esté preparado para formar partículas grandes de agua clara , reduzca la presión a 8,5 y agregue 150 kg de fertilizante químico, enfríe y agregue 125 kg de agente de nitroaldehído, la temperatura alcanza los 75 grados centígrados, agregue 125 kg de urea, baje directamente a 50 grados centígrados y la producción de pegamento se completa
Estado de Disponibilidad:
Cantidad:
sharethis sharing button
  • proceso de producción de pegamento

  • MINGHUNG

La fórmula para hacer pegamento ordinario es

Reactor de cinco toneladas Se pueden producir 6,2-6,3 toneladas de pegamento

Reactor de cola de madera contrachapada

Formaldehído 3500 kg, urea 25 kg, alcohol polivinílico 6,3 kg, amoníaco acuoso 230 kg, temperatura a 88 grados centígrados, mantener caliente durante 30 minutos, ajustar el valor de pH del pegamento a 4,8 y detenerse cuando el pegamento esté preparado para formar partículas grandes de agua clara , reduzca la presión a 8,5 y agregue 150 kg de fertilizante químico, enfríe y agregue 125 kg de agente de nitroaldehído, la temperatura alcanza los 75 grados centígrados, agregue 125 kg de urea, baje directamente a 50 grados centígrados y la producción de pegamento se completa

ReactorReactor de cola (4)Reactor de cola (2)Reactor de cola (3)


Anterior: 
Siguiente: 
Product Inquiry
plywood cold press deliver_副本.jpg
Segundo lote de equipos de Shandong MINGHUNG enviado con éxito
12-26 2025

A medida que se acerca la Navidad, Shandong MINGHUNG wood based panel Machinery Co., Ltd. ha dado la bienvenida a otro pico en los envíos.

Leer Más
1.jpg
9 contenedores zarpan La línea completa de producción de madera contrachapada de MINGHUNG parte con éxito
12-18 2025

A principios de diciembre de 2025, culminará la estrecha colaboración entre el equipo de comercio exterior de MINGHUNG y nuestros socios: 9 contenedores completamente cargados con el equipo principal para una línea de producción de madera contrachapada.

Leer Más
MINGHUNG MCHINERY.jpg
Shandong MINGHUNG fábrica de maquinaria a base de madera
08-05 2020

Fábrica de máquinas de madera Shandong Minghung Wood Machinery Shandong Minghung Produce maquinaria de madera contrachapada en Linyi City City, China, dedicada a proporcionar máquinas de alta calidad y máquinas adecuadas, máquina de chapa, máquina de madera contrachapada, máquina de empalme de chapa. Máquina seca de variedades, máquina de pelado de veneno, madera vywood vly vywwood Vwood vywood

Leer Más
Particleboard paving machine.jpg
¿Cómo producir tableros de partículas?¿Cuál es el paso de producción?
09-09 2023

¿Cómo producir tableros de partículas?¿Cuál es el paso de producción para fabricar tableros de partículas? Introducción: Los tableros de partículas, también conocidos como aglomerados, son un material versátil y rentable ampliamente utilizado en las industrias de la construcción y el mueble.Se fabrica comprimiendo partículas de madera y adhesivo juntos.

Leer Más
auto plywood machine.jpg
La guía definitiva para máquinas de prensado en caliente de madera contrachapada: elaboración de madera contrachapada de alta calidad
12-13 2023

La guía definitiva para máquinas de prensado en caliente de madera contrachapada: elaboración de madera contrachapada de alta calidad Introducción: La madera contrachapada es un material versátil y ampliamente utilizado en diversas industrias, desde la construcción hasta la fabricación de muebles.Entre bastidores, las máquinas de prensado en caliente de contrachapado desempeñan un papel crucial en el proceso de producción.

Leer Más
Oriented Strand Board OSB.jpg
Diferencias entre los tableros de fibra orientada corrugado y los tableros de fibra orientada ordinarios
04-01 2026

Los tableros de fibra orientada corrugada (OSB corrugado) y los tableros de fibra orientada ordinarios (OSB ordinario) pertenecen a la familia OSB, pero son fundamentalmente diferentes en estructura, proceso de fabricación y aplicación.

Leer Más
plywood machine deliver.jpg
Shandong Minghung envía con éxito equipos para la línea de producción de madera contrachapada
03-19 2026

El equipo enviado a Indonesia esta vez consiste en maquinaria central para líneas de producción de madera contrachapada, que cubre procesos clave desde el manejo de troncos hasta el procesamiento de paneles terminados.

Leer Más
MINGHUNG plywood complete machine.jpg
Shandong Minghung envía el torno pelador y la descortezadora de madera según lo previsto
02-03 2026

Shandong Minghung seguirá centrándose en la investigación, el desarrollo y la fabricación de maquinaria para el procesamiento de madera. Estamos comprometidos a construir asociaciones mutuamente beneficiosas a largo plazo con clientes globales a través de productos confiables, entregas oportunas y servicio profesional.

Leer Más
MINGHUNG core veneer dryer.jpg
¿Ventajas del secador de chapa?
08-13 2022

¿Qué es una secadora de chapa?MINGHUNG Secadora de chapa de madera para secar chapas de madera originales, elimina la humedad abundante, al final, la humedad de la chapa de madera será del 5% al ​​10%, por lo que es adecuada para fabricar madera contrachapada. Las secadoras de rodillos de chapa son adecuadas para una gran capacidad de secado por día, pueden tener diferentes longitudes y anchos.

Leer Más
MINGHUNG plywood complete machine.jpg
Materias primas de madera para la producción de tableros de partículas
01-28 2026

El tablero de partículas (también conocido como aglomerado) es un panel de madera de ingeniería común que se fabrica mezclando fragmentos o partículas de madera con adhesivos (como resina de urea-formaldehído) y luego presionándolos en caliente para darles forma.

Leer Más
Shandong MINGHUNG Wood Machinery Co., Ltd es un famoso fabricante de máquinas de madera contrachapada en China, ubicado en la ciudad de Linyi.
Hogar

CONTÁCTENOS

+86-18769900191 / +86-15589105786
+86-18769900191 / +86-15589105786
minghungmachinery@gmail.com
Ciudad de Fangcheng, distrito de Lanshan, ciudad de Linyi, provincia de Shandong, China
Copyright © 2010 SHANDONG MINGHUNG WOOD MACHINERY CO.,LTD